Hyundai nộp bằng sáng chế cho màn hình trên vô lăng
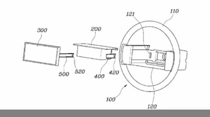
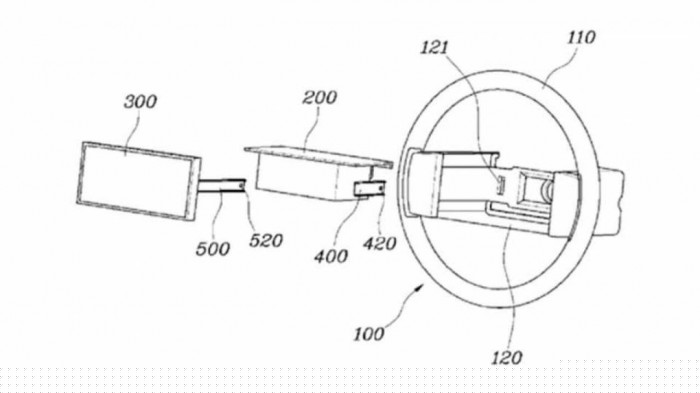
Hyundai vừa đăng ký bằng sáng chế cho loại màn hình được gắn trên vô lăng ô tô, cho phép loại bỏ cụm đồng hồ thông thường.
Giải pháp linh hoạt của TP Móng Cái trong việc thực hiện "mục tiêu kép"
Việt Nam đã tiêm gần 47 triệu liều vắc xin ngừa COVID-19
Tân Hoàng Minh đầu tư hơn 2.600 tỷ đồng xây “làng Thuỵ Sĩ” tại Hoà Bình
Mới đây, hãng xe Hàn Quốc đã nộp bằng sáng chế tại Đức cho việc gắn màn hình trên vô lăng trước mặt người lái, đồng thời loại bỏ cụm đồng hồ thông thường.

Hyundai nộp bằng sáng chế cho việc gắn màn hình trên vô lăng trước mặt người lái
Nhà sản xuất đã cung cấp các bản vẽ cho thấy vô lăng có gắn màn hình dạng ngang theo hai chấu ở vị trí 9h và 3h.
Thiết kế này nhằm giải quyết vấn đề về tầm nhìn của tài xế hướng vào cụm đồng hồ thông thường bị vướng bởi chính vô lăng.
Với việc tích hợp các thông tin phù hợp nhất trên vô lăng, mắt của người lái sẽ không bị cản trở khi cần nhìn tốc độ xe, vòng tua động cơ hay quãng đường di chuyển.
Tuy nhiên, màn hình hiển thị cụm đồng hồ sẽ di chuyển cùng với vô lăng, đặc biệt sẽ gây khó chịu khi ô tô phải rẽ ở các khúc cua hay quay đầu.

Thiết kế này cho phép loại bỏ cụm đồng hồ thông thường phía sau vô lăng
Đồng thời, người lái sẽ phải đánh mắt xa hơn bình thường, gây tốn nhiều thời gian và nguy cơ gây nguy hiểm cao hơn.
Bằng sáng chế của Hyundai cũng mô tả cấu tạo của cụm túi khí sẽ gập ra sau vô lăng mà không bị cản trở hay làm hỏng màn hình kỹ thuật số.
Hyundai trước đây cũng từng thử nghiệm và nộp bằng sáng chế cho phép thay nút điều khiển vật lý trên vô lăng bằng các màn hình cảm ứng có thể thay đổi chức năng tùy thuộc vào người dùng.
Thương hiệu xe sang Genesis của Hyundai cũng từng tiết lộ mẫu xe ý tưởng Mint với màn hình rộng tích hợp vào vô lăng, nhiều người mong đợi bằng sáng chế trên sẽ xuất hiện trên một mẫu xe Hàn Quốc trong tương lai.

